產品描述
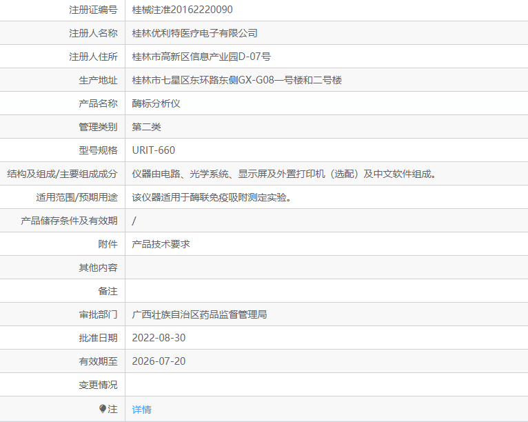
注冊信息
產品咨詢請聯(lián)系上海聚慕醫(yī)療器械有限公司,聯(lián)系 方式:1-8-9-0-1-9-1-2-7-5-5 (羅),郵箱 :postmaster@jmmedical.cn
描述:
1、板條類型:平底、U型、V型酶標板
2、測量范圍:0-3.5Abs
3、光源:8V/20W鹵鎢燈
4、波長范圍:405~630nm
5、濾光片:標配四個標準波段濾光片(405nm,450nm,492nm和630nm),可另擴展四個波段濾光片。
6、分辨率:0.001Abs(顯示),0.0001 Abs(內部計算)
7、測試方法:單波長、雙波長
8、測試速度:單波長<8秒/96孔
9、測量通道:8通道光纖測量
10、振板功能:振板速度和時間可調,且具有高、中、低速振蕩多種模式
11、布板:可進行橫向、縱向96孔可視化布板,可以任意設置測試的起始位和終止位可在任意位置設置至少5對的陰陽性對照
產品咨詢請聯(lián)系上海聚慕醫(yī)療器械有限公司,聯(lián)系 方式:1-8-9-0-1-9-1-2-7-5-5 (羅),郵箱 :postmaster@jmmedical.cn

最新資訊
- 全自動糞便分析儀:開啟糞便檢測新體驗
- 血糖分析儀:精準掌控血糖的貼心小助手
- 2026年科諾醫(yī)kn-8000a半導體激光治療儀中標價格分析與采購觀察
- 2026年普門freesia-75f紅藍黃綠光治療儀中標價格分析與采購指南
- 2026年科英kl-r型二氧化碳點陣激光治療儀中標價格深度解析
- 2026年科英kl-l(z)型強脈沖光治療儀中標價格分析與市場觀察
- 全自動干式生化分析儀:高效便捷,推動醫(yī)療檢測升級
- 全自動血液細胞分析儀:高效檢測,守護健康防線
- 2026年持續(xù)葡萄糖監(jiān)測系統(tǒng)(cgm)中標價觀察:從“單點突破”到“全院配送”,錢花在哪了?
- 2025年腹腔鏡虛擬訓練系統(tǒng)價格透視:從“練手感”到“全仿真”,錢花在哪了?



全部商品分類













聚慕貨號 :
JM1116-741184
商品類別 :
批準文號 :
類 別 :




















